[本站 资讯] 日前,外媒曝光了一组丰田模拟手动变速器的专利图。该变速器最多能够模拟14个挡位,不过驾驶员也可以选择模拟更少的挡位。该变速器未来将应用于基于全新架构打造的下一代丰田电动车上,旨在提升纯电动车的驾驶乐趣。而丰田此前表示,丰田FT-Se概念跑车的量产版本有可能会搭载该变速器。

『丰田FT-Se概念跑车』


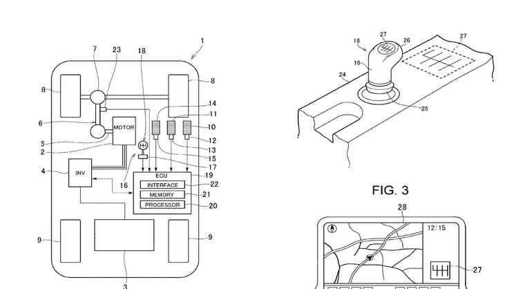
『卡车12挡换挡杆』
据悉,该装置的原理是利用电动机的控制器来模拟不同的虚拟传动比,从而使驾驶员产生类似手动变速器的换挡感受。从公布的图片来看,该变速器的换挡杆上有7个挡位,而14挡位的实现方式应该比较类似卡车,分为高挡模式和低挡模式,每一个位置对应两个挡位。在卡车上高低挡模式的切换由挡把下方的拨片控制,而在丰田的模拟手动变速器中这一功能将由电脑控制实现。

根据外媒的介绍,该换挡杆在每次挂完挡之后都会回到空挡位置,而当驾驶员挂到第7个挡位之后,计算机会将变速箱切换到高挡位模式,这样下一次就能挂到8-14挡。而当驾驶员从高挡位降到8挡时,则执行相反操作,计算机将变速箱切换到低挡位模式,这样下一次就能挂到1-7挡了。

根据此前曝光的信息,丰田将会从86车型上“借鉴”离合器、换挡装置以及转速表等硬件,以带来更拟真的手动挡换挡体验。车主可以像驾驶燃油车一样,踩下离合器踏板,将电动车挂入1挡,享受燃油车时代的驾驶乐趣。此外,类似发动机制动、空挡滑行等操作也有望在丰田电动车上得以实现。
