[本站 资讯] 近日,我们从外媒获悉,福特公布了一项皮卡货厢可伸缩床轨新专利。该套装置将帮助车辆更好的装载并固定货物,从而减少附加的额外设备,提升人员的工作效率与操作便利性。





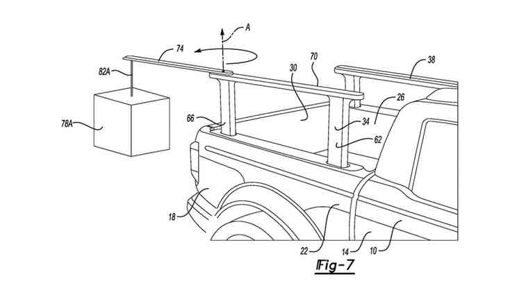
具体来看,新专利的创新点在于,将在皮卡车型货厢内安装可伸缩的轨道,更加方便货物的固定和装载。单侧的驱动器能够提供1320磅的重量,可根据需求的抬高和降低。升起的摆臂还具备旋转的功能,可旋转至车辆尾部,并通过缆绳起吊起重物,方便了货物的装车与卸车。


此专利文件早在2021年就已经提交,于近日才正式对外公布,对于这套装置是否真的会搭载到量产车型上,官方还并没有给出明确的消息。对于后续消息我们也将持续关注。(编译/本站 姚宇)
