最新报道

上海:2025年新能源汽车产值达35%以上

[本站 行业]  2021年1月30日,上海市发布了《上海市国民经济和社会发展第十四个五年规划和二�…

继续深入合作?吉利间接入股孚能科技

[本站 行业]  日前,根据互联网企业信息网站中的工商资料变更显示:深圳安晏投资合伙企业发生工商变更…

盘点2020|十大德系品牌的年度成绩单

[本站 资讯]  随着2020年顺利结束,各大车企的销量数据也依次发布。回顾整个2020年,车企销量…

开展自动小巴测试 文远知行落地南京

[本站 行业]  2021年1月30日,智能出行公司文远知行旗下全资控股的研发运营机构――文远苏行正…

最快2021年推出 全新丰田Aygo冬测谍照

[本站 海外谍照]  日前,我们从海外媒体获得了一组全新丰田Aygo冬季测试的谍照,这款微型车预计最…

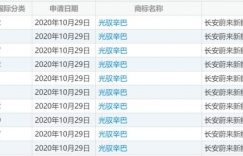
新产品?长安蔚来注册“光驭”等商标

[本站 资讯]  近日,我们在国家知识产权局中国商标网上查询发现,长安蔚来新能源有限公司(…

WLTP续航256km 日规马自达MX-30 EV官图

[本站 新车官图]  日前,马自达官方正式发布了日本本土规格的马自达MX-30 EV车型的官图,并公…

特斯拉新款Model S/X或仍配传统方向盘

[本站 新能源]  日前,有海外网友声称,从特斯拉网站上找到了一张新款Model S配备传…

搭载于E-QM5 比亚迪向红旗提供刀片电池

[本站 行业]  日前,有媒体报道称,比亚迪将向一汽红旗提供“刀片电池”,并于2021年下半年开始正…

布局全固态电池 比亚迪多项专利曝光

[本站 新能源]  日前,我们从国家知识产权局获悉,比亚迪最近获得了283项专利授权,涉及固态电池、…

北京市:就摩托车管理措施公开征求意见

[本站 行业]  日前,北京市交通管理局发布了《关于对<北京市公安局公安交通管理局关于摩托车交…

对标Model 3 大众Trinity项目新车曝光

[本站 新能源]  日前,我们从海外媒体获悉,大众Trinity项目将推出一款全新纯电动车…